如果你的企业正在运营网站、APP或小程序,并提供有偿信息服务(如会员服务、内容订阅、在线课程、信息发布平台等),那么根据《互联网信息服务管理办法》,你必须依法取得 《增值电信业务经营许可证》,俗称 ICP许可证。
好消息是:这个证完全可以自己申请,不需要找代理公司! 只要满足条件、材料齐全,通过率非常高。本文将结合最新政策(截至2026年3月)和实操经验,为你详细拆解全流程+避坑指南。
申请硬性申请条件(缺一不可!)
公司主体
必须是依法设立的有限责任公司或股份有限公司;
注册资本 ≥ 100万元人民币(认缴即可,无需实缴)。
经营范围
营业执照中必须包含:“第二类增值电信业务” 或 “信息服务业务(仅限互联网信息服务)”。
❗若没有,请先去工商局做经营范围变更!
人员与社保
至少 3名员工 缴纳近一个月的社保(需公司名义缴纳,挂靠无效);
部分省份(如浙江、安徽、天津、云南)要求其中至少1人为计算机相关专业(以毕业证为准)。
网站/平台要求
拥有已备案的经营性网站(域名 + 服务器均需以公司名义注册);
网站内容需体现实际经营业务(不能是纯模板页);
若只有小程序/APP,需同步搭建一个PC端网站用于申请。
股权结构
公司及所有股东不得含有外资成分(包括港澳台)。如有,需走外商投资审批流程,难度大增。
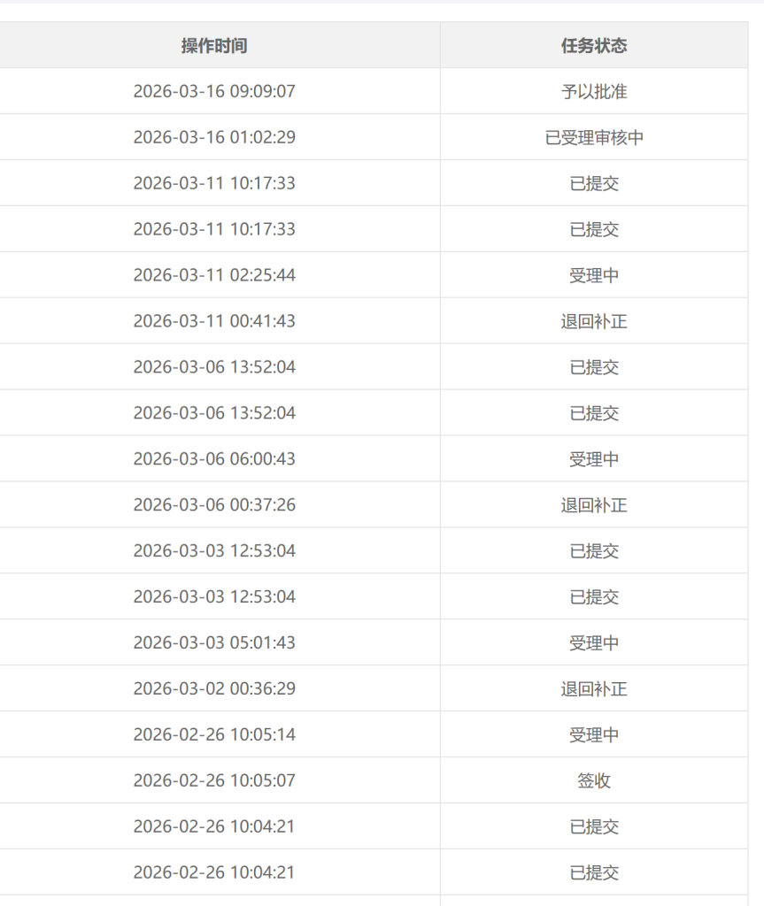
ICP增值电信业务经营许可证下证还是很快的,11号提交补正内容,16号予以批准,17号下载电子证书。
下面说一下办理过程中要注意的事项。

常见问题
1、申请选项:
如何您申请的是信息服务业务(仅限互联网信息服务)要选择 信息发布平台和递送服务/门户网站 ,如果你要上线小程序等,可申请此项,如果选择信息搜索查询服务/信息社区服务/信息即时交互服务会要求有互联网新闻信息服务许可,
2、网站或App情况:
这个是必填的,填写网站时要注意域名不能加 www或http这些,要直接写你的域名,如 wpext.cn 这种,网站服务器放置地/网站接入服务提供单位 必须为详细信息,不能简写
3、电信主管部门要求提交的其他材料(选填)
虽然是选填但要求要上传 网站的首页图片 和 电信业务经营许可部分证明事项告知承诺书
4、网站要求
必须有明显的发布信息的说明,如“免费发布信息”按钮,同时网站必须有隐私政策

其它按要求填写,通常可以一次过了。
代办通常价格在1500左右。
原创文章,作者:admin,如若转载,请注明出处:https://wpext.cn/1088.html